上展式放料阀 下展式放料阀
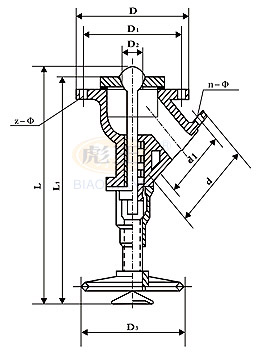
上展式放料阀/测温阀尺寸表 mm
| 配反应罐 | 规格 | D | D1 | D2 | D3 | z-φ | d | d1 | n-φ | L | L1 |
| 50-100L | 70/32 | 160 | 130 | 32 | 160 | 4-14 | 120 | 90 | 4-14 | 350 | 325 |
| 200-500L | 80/40 | 185 | 150 | 42 | 160 | 4-18 | 130 | 100 | 4-14 | 360 | 330 |
| 1000-2000L | 100/50 | 205 | 170 | 50 | 180 | 4-18 | 140 | 110 | 4-16 | 395 | 360 |
| 1000-2000L | =100/50 | 210 | 185 | 50 | 180 | 6-14 | 140 | 110 | 4-16 | 395 | 360 |
| 1000-2000L | =100/50 | 210 | 190 | 50 | 180 | 8-14 | 140 | 110 | 4-16 | 395 | 360 |
| 3000L | 125/80 | 235 | 200 | 65 | 200 | 8-18 | 185 | 150 | 4-18 | 450 | 400 |
| 3000L | =125/80 | 235 | 210 | 65 | 200 | 10-14 | 185 | 150 | 4-18 | 450 | 400 |
| 5000L | 150/100 | 260 | 225 | 85 | 200 | 8-18 | 205 | 170 | 4-18 | 485 | 420 |
下展式放料阀尺寸表 mm
| 配反应罐 | 规格 | D | D1 | D2 | D3 | z-φ | d | d1 | n-φ | L |
| 50-100L | 70/32 | 160 | 130 | 32 | 160 | 4-14 | 120 | 90 | 4-14 | 268 |
| 200-500L | 80/50 | 185 | 150 | 42 | 100 | 4-18 | 130 | 100 | 4-14 | 275 |
| 1000-2000L | 100/50 | 205 | 170 | 50 | 180 | 4-18 | 140 | 110 | 4-16 | 315 |
| 1000-2000L | =100/50 | 210 | 185 | 50 | 180 | 6-14 | 140 | 110 | 4-16 | 315 |
| 1000-2000L | =100/50 | 210 | 190 | 50 | 180 | 8-14 | 140 | 110 | 4-16 | 315 |
| 3000L | 125/80 | 235 | 200 | 65 | 200 | 8-18 | 185 | 150 | 4-18 | 365 |
| 3000L | =125/80 | 235 | 210 | 65 | 200 | 10-14 | 185 | 150 | 4-18 | 365 |
| 5000L | 150/100 | 260 | 225 | 85 | 200 | 8-18 | 205 | 170 | 4-18 | 505 |

